聯繫我們

Contact Us

產品型錄

Product of us

電刷圖庫

Carbon Brush

網上購買

B2B.twcb.tw

購買說明

How to Buy

18

Group

若18形式無您所需的型號,請至以下形式查詢:

同類形式

相近形式

相關形式

新型設計

一般構造

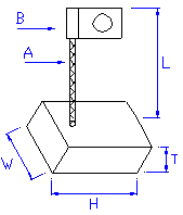
Type T(mm) W(mm) H(mm) L(mm) A B     Grade
18-040410-C1 4.5 4.5 10 40 8        
18-050816-C1 5 8 16 40 8        
18-051016-C1 5 10 16 40 10        
18-060718-C1 6 7 18 40 10        
18-060818-C1 6 8 18 40 10        
18-061018-C1 6 10 18 40 10        
18-061420-C1 6.2 14.5 20 50 20 P5      
18-071018-C1 7 10 18 40 10        
18-080814-C1 8 8 14 50 12        
18-081018-C1 8 10 18 50 12        
18-081218-C1 8 12. 18 50 15        
18-091620-C6 9.5 15.8 20 50 40 P5      
18-101220-C1 10 12.5 20 50 20 P5      
18-101625-C1 10 16 25 60 25 P5      
18-121632-C1 12.5 16 32 60 30 F5