聯繫我們

Contact Us

產品型錄

Product of us

電刷圖庫

Carbon Brush

網上購買

B2B.twcb.tw

購買說明

How to Buy

44

Group

若44形式無您所需的型號,請至以下形式查詢:

同類形式 43

相近形式

相關形式

新型設計

一般構造

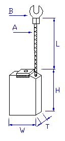
Type T(mm) W(mm) H(mm) L(mm) A B I(mm)   Grade
44-102535-E 10 25 35 75 30 Y5 4.7    
44-102540-E 10 25 40 75 30 Y5 4.7    
44-122535-E 12.5 25 35 85 40 Y5 4.7    
44-122540-E 12.5 25 40 85 40 Y5 4.7    
44-162540-E 16 25 40 85 25*2 Y7 4.7    
44-202545-E 20 25 45 85 30*2 Y7 4.7