聯繫我們

Contact Us

產品型錄

Product of us

電刷圖庫

Carbon Brush

網上購買

B2B.twcb.tw

購買說明

How to Buy

1E

Group

若1E形式無您所需的型號,請至以下形式查詢:

同類形式

相近形式

相關形式

新型設計

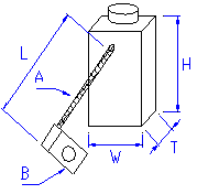
一般構造 18

Type T(mm) W(mm) H(mm) L(mm) A B     Grade
1E-050816-C1 5 8 16 45 8        
1E-051016-C1 5 10 16 45 8        
1E-060718-C1 6 7 18 45 8        
1E-060818-C1 6 8 18 45 8        
1E-061018-C1 6 10 18 45 10        
1E-081018-C1 8 10 18 45 12        
1E-081224-C1 8 12.5 24 50 15        
1E-081624-C1 8 16 24 50 20