聯繫我們

Contact Us

產品型錄

Product of us

電刷圖庫

Carbon Brush

網上購買

B2B.twcb.tw

購買說明

How to Buy

1G

Group

若1F形式無您所需的型號,請至以下形式查詢:

同類形式

相近形式

相關形式 18

新型設計

一般構造

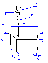
Type T(mm) W(mm) H(mm) L(mm) A B α ß Grade
1G-060925-* 6.35 9.5 25.4 50 12   15 0  
1G-081938-* 8 19 38 75 20   30 30  
1G-091941-* 9.5 19 41 75 25   30 30